QR kód
Produkty
Kontaktuj nás


Fax
+86-574-87168065

E-mail

Adresa
Priemyselná oblasť Luotuo, okres Zhenhai, mesto Ningbo, Čína
Ak prevádzkujete ťažké stroje – napríklad valcovne ocele, ktoré chrlia kov počas celej zmeny, žeriavy zdvíhajúce tony materiálu alebo banské zariadenia, ktoré bojujú s prachom a tlakom v podzemí – potrebujete spojku, ktorá vás nesklame. To je presne to, na čo je štandardná univerzálna spojka flexibilného zváraného typu SWC-BH od Raydafonu vytvorená: spoľahlivý prenos krútiaceho momentu, aj keď je práca náročná.
Najprv si povedzme o jeho dizajne. Zváraný strmeň nie je len vlastnosť – je to niečo, čo mení hru. Na rozdiel od priskrutkovaných strmeňov, ktoré sa môžu časom uvoľniť, toto je pevne zvarené, takže nehrozí, že sa časti uvoľnia, keď vaše zariadenie tvrdo pracuje. A hodí sa aj pre celý rad nastavení, s priemerom otáčania od 180 mm do 620 mm – nie je potrebné hľadať univerzálnu možnosť. Ako štandardná flexibilná univerzálna spojka zvláda až 15 stupňov uhlového vychýlenia, čo znamená, že ak vaše hriadele nie sú dokonale zoradené (a buďme skutoční, len zriedka sú), stále udržuje výkon v pohybe. Aj keď krútiaci moment dosiahne 1 250 kN·m – vážna sila – zostáva stabilný, žiadne chvenie, žiadne poklesy.
Nešetrili sme ani na materiáloch. Táto vec je vyrobená z 35CrMo ocele – vysokopevnostnej látky, ktorá odoláva opotrebeniu, aj keď sa s ňou v bani niečo búcha alebo sa zahrieva v blízkosti valcovne. Navyše sme vložili presné ihlové ložiská, takže sa pohybuje hladko, znižuje trenie a vydrží oveľa dlhšie ako lacnejšie spojky. To je dôvod, prečo ide o univerzálne spojky pre ťažké stroje – nefunguje to len niekoľko týždňov; drží sa a udržuje vaše zariadenie v chode. A ak potrebujete zvárané univerzálne spojky pre priemyselné aplikácie? To je ono – zváraný dizajn zvláda vibrácie a namáhanie lepšie ako skrutkované alternatívy, takže strávite menej času opravovaním a viac času prácou.
V Raydafone ich vyrábame v Číne, ale neobmedzujeme sa na kvalitu. Každý krok sa riadi normami ISO 9001 – kontrolujeme oceľ, kontrolujeme zvary, testujeme ložiská – takže viete, že získavate spojku, ktorá spĺňa globálne pravidlá kvality. A ak je vaše nastavenie trochu iné? Robíme vlastné vylepšenia – upravíme veľkosť, dolaďujeme špecifikácie – podľa toho, čo potrebujete, aby to sedelo. Najlepšia časť? Nie je to cenovo ako luxusná časť. Získate odolnú univerzálnu spojku, ktorá pracuje tvrdo, bez toho, aby ste museli platiť majland. Pre každého, kto si nemôže dovoliť prestoje, je táto spojka SWC-BH druhom spoľahlivého kusu, ktorý udrží vaše stroje v pohybe, deň čo deň.
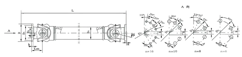
| Nie | Priemer otáčania D mm | Nominálny krútiaci moment Tn KN·m | Uhol ohybu osí β (°) | Opotrebovaný krútiaci moment Tf KN·m | Veľkosť (mm) | Rotačná zotrvačnosť kg.m2 | Hmotnosť (kg) | |||||||||||
| Lmin | D1 (js11) | D2 (H7) | D3 | Lm | n-d | k | t | b (h9) | g | Lmin | Zvýšiť 100 mm | Lmin | Zvýšiť 100 mm | |||||
| SWC100WH | 100 | 1.25 | 0.63 | 25° | 243 | 84 | 57 | 60 | 55 | 6-9 | 7 | 2.5 | - | - | 0.0039 | 0.00019 | 4.5 | 0.35 |
| SWC 120WH | 120 | 2.5 | 1.25 | 25° | 307 | 102 | 75 | 70 | 65 | 8-11 | 8 | 2.5 | - | - | 0.0096 | 0.00044 | 7.7 | 0.55 |
| SWC 150WH | 150 | 5 | 25 | 25° | 350 | 130 | 90 | 89 | 80 | 8-13 | 10 | 3 | - | - | 0.371 | 0.00157 | 18 | 24.5 |
| SWC 180WH | 180 | 12.5 | 6.3 | 25° | 180 | 155 | 105 | 114 | 110 | 8-17 | 17 | 5 | - | - | 0.15 | 0.007 | 48 | 2.8 |
| SWC225WH | 225 | 40 | 20 | 15° | 520 | 196 | 135 | 152 | 120 | 8-17 | 20 | 5 | 32 | 9 | 0.365 | 0.0234 | 78 | 4.9 |
| SWC250WH | 250 | 63 | 31.5 | 15° | 620 | 218 | 150 | 168 | 140 | 8-19 | 25 | 6 | 40 | 12.5 | 0.817 | 0.0277 | 124 | 5.3 |
| SWC285WH | 285 | 90 | 45 | 15° | 720 | 245 | 170 | 194 | 160 | 8-21 | 27 | 7 | 40 | 15 | 1.756 | 0.051 | 185 | 6.3 |
| SWC315WH | 315 | 125 | 63 | 15° | 805 | 280 | 185 | 219 | 219 | 10-23 | 32 | 8 | 40 | 15 | 2.893 | 0.0795 | 262 | 8 |
| SWC 350WH | 350 | 180 | 90 | 15° | 875 | 310 | 210 | 267 | 194 | 10-23 | 35 | 8 | 50 | 16 | 5.013 | 0.2219 | 374 | 15 |
| SWC390WH | 390 | 250 | 125 | 15° | 955 | 345 | 235 | 267 | 215 | 10-25 | 40 | 8 | 70 | 18 | 8.406 | 0.2219 | 506 | 15 |
| SWC440WH | 440 | 355 | 180 | 15° | 1155 | 390 | 255 | 325 | 260 | 16-28 | 42 | 10 | 80 | 20 | 15.79 | 0.4744 | 790 | 21.7 |
| SWC490WH | 490 | 500 | 250 | 15° | 1205 | 435 | 275 | 325 | 270 | 16-31 | 47 | 12 | 90 | 22.5 | 26.54 | 0.4744 | 1014 | 21.7 |
| SWC 550WH | 550 | 710 | 355 | 15° | 1355 | 492 | 320 | 426 | 325 | 16-31 | 50 | 12 | 100 | 22.5 | 48.32 | 1.357 | 1526 | 34 |
Ak vás už nebaví riešiť náročné spojky, ktoré spomaľujú vašu prácu alebo sa lámu, keď ich najviac potrebujete, univerzálna spojka SWC-WH bez flexibilného zvárania od Raydafonu zmení hru. Je nabitý výhodami, ktoré z neho robia top výber pre každého, kto potrebuje hladký prenos krútiaceho momentu v mechanických systémoch – žiadne mätúce zváracie kroky, len solídny výkon, ktorý presne zapadne do vášho pracovného toku.
Po prvé, inštalácia tejto veci je oveľa jednoduchšia, ako si možno myslíte. Na rozdiel od zváraných spojok, ktoré vás nútia priniesť ďalšie nástroje alebo čakať na stuhnutie zvarov, SWC-WH používa skrutkový dizajn. Môžete ho rýchlo zasunúť do existujúceho nastavenia a kedy príde čas na údržbu? Rozoberanie je hračkou, takže vaše priemyselné vybavenie trávi menej času nečinnosťou. Preto je to taká skvelá všestranná univerzálna spojka s vysokým krútiacim momentom – žiadne prestoje hlavy, stačí nastúpiť, opraviť, čo potrebujete, a vrátiť sa do práce.
Čo sa týka odolnosti, je skonštruovaný tak, aby ho vydržal. Používame odolné materiály, ktoré zvládajú veľké zaťaženie a konštantné vibrácie bez trhnutia – ideálne pre rušné priemyselné miesta, kde sa vybavenie nikdy skutočne nepokazí. A keďže nedochádza k zváraniu, nemusíte sa obávať tých slabých miest, ktoré sa objavia, keď sa zvary časom opotrebujú. Toto nie je spojka, ktorú je potrebné vymieňať každých pár mesiacov; je to spoľahlivá spojka univerzálneho kĺbu pre priemyselné stroje, ktorá sa drží a udržuje vaše operácie stabilné.
Nesúlady? Žiadny problém. Hriadele nikdy nezostanú dokonale vyrovnané, najmä v automobilových alebo dopravných systémoch, ale SWC-WH zvláda uhlové, axiálne a radiálne odchýlky ako profesionál. Je to druh spojky univerzálneho kĺbu hnacieho hriadeľa, ktorý udržuje výkon v plynulom pohybe, aj keď je vyrovnanie nerovnomerné – žiadne trhanie, žiadne pády, len konzistentný výkon.
A povedzme si náklady. Zváranie pridáva dodatočné poplatky za prácu a materiál, ale toto spojenie toto všetko preskočí. Získate kvalitný produkt bez nadmerných výdavkov, čo je veľká výhra pre každý rozpočet. Dokonca aj na zložitých miestach, ako sú námorné inštalácie, kde je korózia stálou hrozbou, obstojí ako spoľahlivá námorná spojka univerzálneho spoja – odolná voči slanej vode, nenáročná na vašu peňaženku.
Ak máte radi obnoviteľnú energiu, táto spojka sa tiež hodí. Je to pevná spojka univerzálneho kĺbu pre zariadenia na výrobu obnoviteľnej energie, ktorá prenáša energiu efektívne, takmer bez odpadu. Navyše je ľahký, takže nezaťažuje váš systém – skvelé na udržanie udržateľného chodu bez obetovania výkonu.
V spoločnosti Raydafon nepredávame len spojky – vyrábame také spojky, ktoré vyhovujú vašim potrebám. SWC-WH je prispôsobiteľný, takže funguje presne tak, ako chcete. Ak ste zvedaví, ako to môže zjednodušiť vaše operácie, kontaktujte náš tím. Prevedieme vás tým, žiadny žargón – len sa rovno porozprávajte o tom, čo vám toto spojenie môže urobiť.
Univerzálna spojka SWC-WH od Raydafonu bez flexibilného typu zvárania vychádza zo základného know-how mechaniky kardanových kĺbov – ale vylepšili sme ju tak, aby bola tvrdšia pre priemyselné práce. Celá pointa? Zabezpečte hladký pohyb krútiaceho momentu medzi dvoma hriadeľmi, ktoré nie sú dokonale zoradené, aj keď sú pod uhlom. Ako účelová spojka univerzálneho kĺbu kardanového hriadeľa SWC používa v strede krížový kus na udržanie stabilného toku rotačnej sily – presne preto je to taká univerzálna spojka s vysokým krútiacim momentom pre náročnú prácu, ako sú valcovne alebo zdvíhacie stroje.
Poďme rozobrať jadro toho, ako to funguje: existujú dve vidlicové jarmá a sú spojené centrálnym krížom (hovoríme tomu pavúk). Toto nastavenie umožňuje, aby sa strmene otáčali vo viacerých smeroch – takže aj keď sú hriadele posunuté až o 25° (to je jeho maximálny uhol ohybu), krútiaci moment sa stále prenáša rovnomerne. Potvrdzujú to aj špecifikácie: priemery otáčania sa pohybujú od φ58 do φ620 a zvláda menovitý krútiaci moment od 0,15 do 1 000 kN·m. Keď ju používate ako vysokovýkonnú univerzálnu spojku pre operácie valcovne, táto konštrukcia znamená, že vstupná rotácia sa bez prerušenia zmení na výstupný pohyb – tieto kĺbové spoje sa otáčajú samy, aby vyrovnali nesúosovosť, bez prerušenia.
Prečo je dôležitá časť „bez flex zvárania“? Zvary sme vymenili za skrutkové alebo svorkové spoje. Zvary môžu byť časom slabými miestami, ale tieto spojovacie prvky znižujú riziko zlyhania – a tiež zjednodušujú zostavovanie spojky. Táto priemyselná spojka univerzálneho kĺbu má tiež vylepšený dizajn hlavy vidlice, ktorý zabraňuje uvoľňovaniu skrutiek, čím sa zvyšuje jej štrukturálna pevnosť o 30% - 50%. To je veľká vec na náročných miestach, ako sú bane alebo staveniská, kde funguje ako odolná spojka univerzálneho kĺbu SWC – vydrží aj pri veľkom zaťažení bez toho, aby sa vytratila.
Účinnosť je tu ďalšou výhrou: dosahuje až 98,6% účinnosť prenosu. Každý diel sme skonštruovali tak, aby sme znížili trenie a plytvanie energiou – takže nie je prekvapením, že ide o efektívnu univerzálnu spojku na prenos veľkého výkonu vo vysokovýkonných priemyselných zariadeniach. A beží ticho: zvyčajne 30-40 dB(A). Je to vďaka vyváženej rotácii a zabudovanému tlmeniu vibrácií – vďaka čomu ide o nízkohlukovú univerzálnu spojku pre miesta, kde je hluk problémom. Navyše znižuje náklady na energiu, takže kontroluje aj potrebu energeticky úspornej spojky univerzálneho kĺbu.
V systémoch kardanových spojok ťažkých strojov je to najdôležitejšie: SWC-WH rovnomerne rozloží sily na všetky svoje časti. Žiaden kus sa príliš nenamáha, čo znamená menej porúch a dlhšiu životnosť. V spoločnosti Raydafon nevyrábame túto spojku len tak, aby spĺňala špecifikácie – prispôsobujeme ju tak, aby fungovala pre vašu prácu, či už ide o odolné ťažké stroje alebo špecializované priemyselné zariadenia. Ak ho chcete vyladiť, aby váš systém fungoval plynulejšie alebo dlhšie, porozprávajte sa s naším tímom – pomôžeme vám získať nastavenie, ktoré presne vyhovuje vašim potrebám.
⭐⭐⭐⭐⭐ Zhang Wei, strojný inžinier, Beijing Industrial Machinery Co., Ltd.
Už niekoľko mesiacov máme na našom výrobnom zariadení univerzálnu spojku SWC-WH od Raydafon SWC-WH bez flexibilného zvárania a je stabilná – najmä keď tlačíme naše stroje, aby zvládali vysoké zaťaženie. Čo naozaj oceňujem, je jeho robustná konštrukcia: dokonca aj pri tých dlhých a náročných zmenách, pri ktorých môžu ostatné časti začať kolísať, táto spojka udržuje veci v plynulom chode – žiadne náhodné vibrácie, žiadne náhle poruchy, ktoré zhadzujú celý náš rad.
Inštalácia bola tiež hračka. Náš tím nemusel tráviť hodiny vymýšľaním zložitých krokov; namontovali sme to rýchlo a odvtedy sme to nemuseli upravovať. Pre vysokovýkonnú výstroj, ako je tá naša, sa o spoľahlivosti a kvalite nedá vyjednávať a táto spojka kontroluje obe políčka. Raydafon dokázal, že je partnerom, na ktorého sa tu môžeme spoľahnúť – sme skutočne spokojní s tým, ako tento produkt obstojí.
⭐⭐⭐⭐⭐ John Smith, manažér závodu, Florida Manufacturing, USA
Spojku Raydafon SWC-WH som uviedol do používania v našom zariadení na Floride pred niekoľkými mesiacmi a bolo to presne to, čo sme potrebovali – jednoduché, bezproblémové a trvalo efektívne. Prenos energie zostáva stabilný, čo je kľúčové pre udržanie tempa našej výroby, a nemuseli sme sa ho ani raz dotknúť kvôli údržbe. To je pre nás veľké víťazstvo; menej času na opravu dielov znamená viac času na vykonanie práce.
Dokonca aj keď stroje jazdíme tvrdo a pod vysokým napätím, táto spojka sa netrhne – jednoducho ide ďalej. Inštalácia bola tiež jednoduchá; naši technici to mali rýchlo nastavené. A keď spojíte tento výkon s rozumnou cenou? Je to solídna hodnota. Navyše, zákaznícka podpora Raydafonu bola špičková, keď sme mali rýchlu otázku – rýchlo sa nám vrátili. Niet pochýb o tom, že ich produkty budeme naďalej používať.
⭐⭐⭐⭐⭐ Roberto Silva, prevádzkový riaditeľ, São Paulo Engineering Solutions, Brazília
So spoločnosťou Raydafon spolupracujeme už nejaký čas, ale ich spojka SWC-WH Without Flex v našich prevádzkach skutočne vynikla – opakovane sa to osvedčilo. Prvá vec, ktorú si všimnete, je jeho pevná konštrukcia; je skonštruovaný tak, aby vydržal, a to sa premieta do spoľahlivého výkonu našich strojov.
Predtým, ako sme prešli na túto spojku, sme sa potýkali s častými prestojmi kvôli problémom s nesúosovosťou a predčasným opotrebovaním našich starých dielov. Teraz? Tie problémy sú preč. Skrátilo to naše prestoje, čo výrazne zvýšilo produktivitu. A inštalácia? Super jednoduché – náš tím nestrácal čas nastavovaním riešenia problémov. Pre každú spoločnosť, ktorá potrebuje diely na prenos energie, ktorým môže dôverovať, je toto jednoznačné. absolútne by som to odporučil.
⭐⭐⭐⭐⭐ Peter Müller, technický vedúci, Stuttgart Manufacturing GmbH, Nemecko
Spojku SWC-WH od Raydafonu používame v našom stuttgartskom výrobnom závode už viac ako šesť mesiacov a je bezchybná – vážne, za celý čas nebol jediný problém. Jeho dizajn je jednoduchý, vďaka čomu je inštalácia hračkou; náš tím ho mal namontovaný a pripravený na okamžité použitie, nie sú potrebné žiadne zložité kroky ani špeciálne nástroje.
Čo ma však naozaj zaujalo, je kvalita. Zváranie je čisté a pevné a materiály pôsobia ako vysokokvalitné – môžete povedať, že nerežú rohy. Pri pravidelnom používaní perfektne drží a nevykazuje žiadne známky opotrebovania ani po mesiacoch nepretržitej prevádzky. Sme viac než spokojní s tým, ako tento produkt funguje, a už je na našom zozname na použitie pre budúce projekty.
Adresa
Priemyselná oblasť Luotuo, okres Zhenhai, mesto Ningbo, Čína
Tel


+86-574-87168065


Priemyselná oblasť Luotuo, okres Zhenhai, mesto Ningbo, Čína
Copyright © Raydafon Technology Group Co., Limited Všetky práva vyhradené.
Links | Sitemap | RSS | XML | Zásady ochrany osobných údajov |
